过滤的分类
过滤器的过滤是利用过滤介质将固体和液体分离的单元操作,可分为澄清过滤和滤饼过滤
过滤器的澄清过滤又分为以下四类:
(1)颗粒过滤(PF即particle filtration);
(2)微孔过滤(MF即micro filtra-tion);
(3)超过滤(UF即utra filtration);
(4)反渗透(RO即reverse osmosis)。其中,颗粒过滤又称内部过滤(inner filtration或深层过滤(deep or depth filtration)或粒状层过滤( granular bed filtration)。
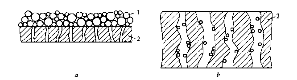
滤饼过滤又称表面过滤(surface fitraion)。过滤时,先由滤布等的表面截留悬浮颗粒,而后由逐渐增厚的滤饼继续截留颗粒。其操作目的主要是对悬浮液进行浓缩及回收固体。
滤饼过滤和深层过滤的模型“两种不同的过滤方式示意图”。

a-滤饼过滤;b-深层过滤
1-(过滤器)滤饼;2-(过滤器)过滤介质
不同颗粒尺寸所对应的过滤分离方式

(咨询过滤器,油过滤器、空气过滤器,过滤器型号,滤芯、滤材请致电咨询我公司新乡市亚洲必赢过滤技术有限公司。)
联系人:王经理
手 机:1567056000113183108783
邮 箱:sales@cl-filter.com
公 司:新乡市亚洲必赢过滤技术有限公司
地 址:河南省新乡市创业路1号高新技术产业园